Hyundai i-20 manuels

Hyundai i-20 (GB) 2014-2026 Revue Technique Automobile: Revêtement du dossier du siège avant Procédures de réparation

Hyundai i-20 (GB) 2014-2026 Revue Technique Automobile / Carrosserie (Intérieur et extérieur) / SIÈGE AVANT / Revêtement du dossier du siège avant Procédures de réparation

REMPLACEMENT
  
•
Portez des gants pour protéger vos mains.
  
•
Si on fait levier à l'aide d'un tournevis à bout plat, il faudra l'envelopper avec un ruban de protection, pour éviter tout dommage.
•
Utilisez un outil de dépose de panneau en plastique pour retirer les pièces de la garniture intérieure pour ne pas endommager la surface.
•
Attention à ne pas plier ou rayer la garniture et les panneaux.
1.
Enlevez l'ensemble du siège avant.
(Reportez-vous à Siège avant- "Siège avant")
2.
Enlevez le recouvrement de protection externe du siège avant.
(Voir Siège avant - "Recouvrement externe de protection du siège avant")
3.
Enlevez le recouvrement de protection interne du siège avant.
(Reportez-vous à Siège avant - "couvercle intérieur de protection du siège avant")
4.
Enlevez le protecteur inférieur de siège avant (A).

5.
Poussez l'ergot d'arrêt (B), déposez l'appuie-tête du siège avant (A).

6.
Déposez les crochets (A) situés dans le côté inférieur arrière de la housse du dossier de siège avant.

7.
Ouvrez la fermeture éclair du revêtement du dossier du siège avant (A) et poussez-le vers le haut.

8.
Déposez les agrafes (A) avec le cadre du dossier avant.
[Côté]

[Supérieur]

9.
Retirez le protecteur du dossier de siège avant (A).

10.
Retournez le revêtement du dossier du siège avant. Retirez ensuite les guides de l'appuie-tête (A) en écrasant les deux côtés de la partie inférieure des guides et déposez-les.

11.
Déposez la housse du dossier de siège avant (A) du cadre du dossier de siège avant.

12.
Après avoir enlevé les crochets (A) à l'avant du dossier du siège, enlevez le revêtement du dossier de siège avant (B).

13.
Pour la pose, suivez la procédure inverse de la dépose.
  
•
Pour empêcher la formation de plis, vérifiez que le matériau est uniformément étendu sur la housse (B) avant de fixer les crochets (A).
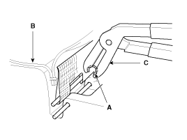
•
Remplacez les clips par des neufs en utilisant un outil spécial (C) (09880-4F000).

Revêtement du dossier du siège avant Composants et emplacement des composants
EMPLACEMENT DES COMPOSANTS 1. Revêtement du dossier du siège avant ...

Revêtement du coussin du siège avant Composants et emplacement des composants
EMPLACEMENT DES COMPOSANTS 1. Revêtement de l'assise du siège avant ...

Autres materiaux:

Couvercle et disque d'embrayage Composants et emplacement des composants
Composants (1) 1. Disque d’embrayage 2. Couvercle d’embrayage 3. Roulement de débrayage 4. Ensemble du levier de débrayage 5. Fourchette de débrayage 6. Clip de retour COMPOSANTS (2) 1. Fourchette de déb ...

À CAPTEUR de la température de l′évaporateur Procédures de réparation
Contrôle 1. Tournez l′interrupteur d′allumage sur OFF. 2. Débranchez le connecteur du capteur de température de l'évaporateur. 3. Mesurez la résistance entre les bornes "+" et "-&quo ...

© 2016-2026 Kopyright www.hi20manuel.com